Motorenregelung MST 102

Ermöglicht den Betrieb des 3P-Regler MST 101 mit einem Schrittmotor als Stellantrieb.
  • Für bipolare Schrittmotoren bis zu 2A Phasenstrom
  • Phasenstromüberwachung einstellbar (Chopper)
  • Zwei Drehzahlen wählbar (Jumper)

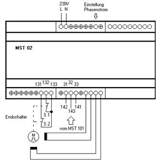
Anschlussplan MST 102

Die Einstellung des Phasenstromes wird am Einstellwiderstand (oben) vorgenommen. Nach Entfernen der Klemmenabdeckung (Links unten) ist der Jumper für die Änderung der Drehzahlen zugänglich.

Umlaufdauer:

  • Jumper offen; 12 sec/Umdrehung
  • Jumper gesetzt; 6 sec/Umdrehung
  • Weitere Drehzahlen sind nach Absprache möglich.

 

Technische Daten MST 102

 

Betriebsspannung

230 V AC ±10% ; 50 Hz

Sicherung intern

500 mA, träge

Leistungsaufnahme

max. 25 VA

Ausgangsspannung mit internen Netzteil

12 V DC

Ausgangsspannung mit externen Netzteil

max. 24 V DC

Phasenstrom pro Ausgang mit externen Netzteil

max. 2A pro Phase

Kabelanschluss

max. 1,5 mm²

Masse

ca. 820 g

Schutzgrad

IP20

Umgebungstemperatur

+5°C bis + 40°C

Lagertemperatur

+5 °C bis +80 °C

Abmaße des Hutschienengehäuses (BxHxT)

(160x90x60) mm

Befestigung

DIN-Schiene-Montage

Approbation

CE, EN61000-6-3, EN61010-1